28 мая отмечается Всемирный день брюнеток. Представляем одну из самых известных брюнеток в мире изобретателей — Хеди Ламарр.
Хе́ди Лама́рр (англ. Hedy Lamarr, урождённая Хедвиг Ева Мария Кислер (нем. Hedwig Eva Maria Kiesler); 9 ноября 1914 — 19 января 2000) — австрийская и американская киноактриса и изобретательница.
В день ее рождения отмечают День изобретателя в немецкоговорящих странах — Австрии, Германии и Швейцарии. Почему? Дело в том, что Хеди Ламарр считается создательницей метода, необходимого для работы таких технологий, как GPS, Bluetooth, Wi-FI и CDMA.
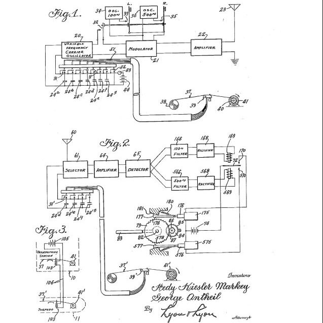
Хеди Ламарр и ее другу Джорджу Антейлу принадлежит патент на изобретение «секретных систем коммуникаций», включающих технологию передачи ложных сигналов на разных частотах. Шел сентябрь 1940 года. Хеди знала, как работают радиоуправляемые торпеды, самым большим недостатком которых была несовершенная система наведения — обнаружив угрозу, противник легко глушил сигнал, отправляя помехи на той же частоте. Актриса предложила отправлять сигналы по частям на разных частотах. Техническая реализация этой идеи легла на плечи Антейла.
В дальнейшем это изобретение стало основой для создания метода передачи информации по радио, называемого FHSS (frequency-hopping spread spectrum, псевдослучайная перестройка рабочей частоты). А FHSS, в свою очередь, лег в основу множества беспроводных технологий, которыми мы пользуемся сегодня.
В 1997 году Фонд электронных рубежей официально наградил актрису за изобретение FHSS. В начале 2014 года Хеди была введена в зал славы изобретателей.









